联系方式

卖家服务时间

9:00--17:00

  • 产品名称:进口化工磁力泵
  • 产品型号:
  • :
  • :
  • :
  • :
  • :
  • :
  • :
  • :
  • :
  • :
  • :
  • :
  • Share : http://www.cnnook.com/Magnetic/316.html

一、进口化工磁力泵产品概述

德国NOOK诺克@进口化工磁力泵是设计组开发的新型完全无泄漏耐腐蚀泵,其技术生产指标优越。主要特点该泵过流部份采用全不锈钢材料,对有机酸,有机化合物,碱,中性溶液和多种气体都有良好的耐蚀性,双螺旋槽碳 石墨轴承和硬质合金轴套的磨合,具有较强的耐磨性,保证了产品的寿命,是无泄漏输送腐蚀性介质的理想泵。无泄漏输送腐蚀性介质的理想泵型。

二、进口化工磁力泵选型参数

公称通径:20-100mm

流量范围:3.2~100m3/h

扬程范围:20~80m

功率范围:0.75-75KW

转速范围:2850~2900r/min

温度范围 :-80℃

工作压力:1.6MPa-25MPa

泵体材质:304、316、316L

三、进口化工磁力泵适用范围

进口化工磁力泵广泛应用于石油、化工、冶金、制药、电镀、环保等行业,可输送100℃以下易燃、易爆、剧毒、贵重液体。  采用磁力传动原理,无泄漏输送腐蚀性介质。

四、进口化工磁力泵性能参数

流量 (m3/h)扬程 (m)转速 (r/min)功率 (kw)
3.220
1.1
32
1.5
6.312.5
1.1
20
2.2
32
3
50
5.5
12.58
1.1
12.5
1.5
20
3
32
4
50
7.5
80
18.5
252029004
32
7.5
50
15
80
22
5020
7.5
32
15
50
22
80
37
10020
15
32
22
50
37
80
55
20050
55
40032145075

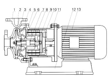
五、进口化工磁力泵结构图

六、进口化工磁力泵主要参数表

1泵体 2叶轮 3轴承体 4止推环 5隔离套 6轴套 7泵轴 
8轴承 9内磁钢总成10外磁钢总成11联接架12底座13电机

七、进口化工磁力泵安装尺寸

AADBLL1H1H2aA1A2A3HH3H4L2L3L4L5L6hn-d
1251501004581331209065












1401551004831431609065












1251501004581331209065












14015512550814316011265












1601801407062301601128030033036019735734226340120320560754-ф17
2612101408212751601328035038041023239241532987160325645504-ф22
1251501004581331209080












14015512550814316011280












1601801407062341601128030033036019733734226340120320560754-ф17
19019014080029016011280300330360217377370344431204156551004-ф17
2162101408172821801328035038041024542542832543120465705804-ф22
25425521098733722516010038041044030052552539755150550850804-ф22
2162101408362901601328035038041019733735034440120410650754-ф17
2162101408362901601328035038041021737740034440120410650754-ф17
254255210962324180160100380410440260440485372541505658651104-ф22
2792852411032324225180100380410440300525550385541505658651104-ф22
2162101408172821601328135038041021737745732543120465705804-ф17
254255210101335018016010038041044026044048542398210395815904-ф22
254255254108638020016010038041044026046048545150210450870904-ф22
31831030512513902252001254705005303205455954761272104909101104-ф22
254255210958308180160100380410440260440485368127210400820804-ф17
2542552541003308200160100380410440280480505368127210400820804-ф22
318310305126241222518010047050053032054559551214125056010601304-ф28
318310305129041225020012547050053034059064551214125056010601304-ф28

八、进口化工磁力泵安装和使用

1、进口化工磁力泵应水平安装,不宜竖立,塑料泵体不得承受管路重量,对于特殊要求垂直安装的场合,电机务必朝上。

2、当抽吸液面高于泵轴心线时,起动前打开吸入管道阀门即可,若抽吸液面低于泵轴心线时,管道需配备底阀。

3、进口化工磁力泵使用前应进行检查,电机风叶转动要灵活,无卡住无异常声响,各紧固件要紧固。

4、检查电机旋转方向是否与磁力泵转向标记一致。

5、电机启动后,缓慢打开排出阀,待泵进入正常工作状态后,再将排出阀调到所需开度。

6、进口化工磁力泵停止工作前,应先关闭排出阀门,然后关闭吸入管阀门。

九、进口化工磁力泵使用注意事项

1、因化工磁力泵轴承的冷却和润滑是靠被输送的介质,所以绝对禁止空动转,同时避免在工作中途停电后再启动 时所造成时空载运转。

2、被输送介质中,若含有固体颗粒,泵入口要加过滤网:如含有铁磁质微粒,需加磁性过滤器。

3、进口化工磁力泵在使用中环境温度应小于40℃,电机温升不得超过75℃。

4、被输送的介质及其温度应在泵材允许范围内(详见附表)。工程塑料泵的使用温度<60℃,金属泵的使用 温 度<100℃,输送吸入 压力不大于0.2mpa,大工作压力1.6mpa、密度不大于1600kg/m3,粒度不大于30 × 10-6m2/s的不含硬颗粒和纤维的液体。

5、对于输送液为易沉淀结晶的介质,使用后应及时清洗,排净泵内积液。

6、化工磁力驱动泵运行100小时后,应拆检轴承和端面动环的磨损情况,并更换不宜再用的易损件。

7、进口化工磁力泵内外磁性联轴器采用高性能永磁材料,可能对下列器件产生潜在危害,请将下列器件与本系列泵 保持距离。如:起博器,信用卡及其它磁卡、计算器、计算机磁盘、手表等。

十、进口化工磁力泵故障与排除方法

故障形式产 生原因排除方法
泵不出水1.水泵反转
2.进水管道漏气
3.泵腔蓄水不足
4.电压太高,苣动时联轴器打滑
5.吸程太高
6.阀门没有打开
1.改变电讥接线
2.社绝漏气
3.增加蓄水量
4.调正电压
5.降低泵安装位置
6.校正或更?阀门
流量不足1.吸入管径太小或淤塞
2.叶轮流道阻塞
3.扬程过高
4.转速不够
1.调换或清洗水管
2.清洗叶轮
3.开大出水阀
4.恢复额定转速
扬程过低1.流量过大
2.转速太低
1.关小出水阀
2.恢复额定转速
噪音太大1.轴严重磨损
2.轴承严重磨损
3.外磁钢或?磁钢与隔离套接触
4.密封环与叶轮研磨
1.更换泵轴
2.更换轴承
3.拆除泵头重新组装
4.更换止推环、密封环
漏 液O型密封圈损坏更换O型密封圈


详情:

规格参数

  • 行业分类:

    机械及行业设备/阀门/流量控制阀

  • 产品类别:

  • 品  牌:

  • 规格型号:

  • 库  存:

  • 生 产 商:

  • 产  地:

    中国福建省厦门市

生意有风险,请细致咨询,并做详细考察。
注:本站商品信息均来自于合作方,其真实性、准确性和合法性由信息拥有者(合作方)负责。
生意宝对本网站刊登的所有信息不声明或保证其内容的正确性和可靠性。您于此接受并承认信赖任何信息所产生的风险需自行承担。

生意宝 - 基于行业网联盟的B2B社交电商平台.
Toocle.com - Widen your Trading Circle!

快捷展示

快速创建集企业介绍、产品服务、直播等一体的个性旺铺

全面营销

升级成企业号帮助企业搭建社交移动互联网智能营销平台

助推成交

自助开通商城,将智能营销平台、直播系统流量转化成交

生意宝超级旺铺